Обслуживание воздушных компрессоров является обязательным условием поддержания заводской гарантии, увеличивает срок эксплуатации, надежность и бесперебойность работы оборудования. Своевременная замена расходных материалов в совокупности с правильной эксплуатацией избавит Вас от возможных дорогостоящих затрат на ремонт, а также издержек, связанных с простоем производства.

Техническое обслуживание винтового компрессора состоит из:
- Замены панельного фильтра, картриджа воздушного фильтра, масляного фильтра и маслоотделителя;
- Замены компрессорного масла;
- Ревизии всасывающего и термостатического клапана, а также клапана минимального давления;
- Проверки изношенности приводных ремней;
- Персональных рекомендаций, которые мы предоставим по окончанию процедуры.
Техническое обслуживание поршневого компрессора состоит из:
- Замены воздушного фильтра;
- Замены приводных ремней (при их наличии);
- Проверки работы предохранительного клана;
- Проверки клапана слива конденсата.
Сервисные инженеры ООО "ДЕЛЕКС":
- Имеют большой опыт по обслуживанию и ремонту компрессорного оборудования;
- Постоянно совершенствуют свои навыки, проходя ежегодные технические тренинги, устраиваемые производителями оборудования;
- Имеют минимальный стаж работы в данной области от 5 лет и выше.
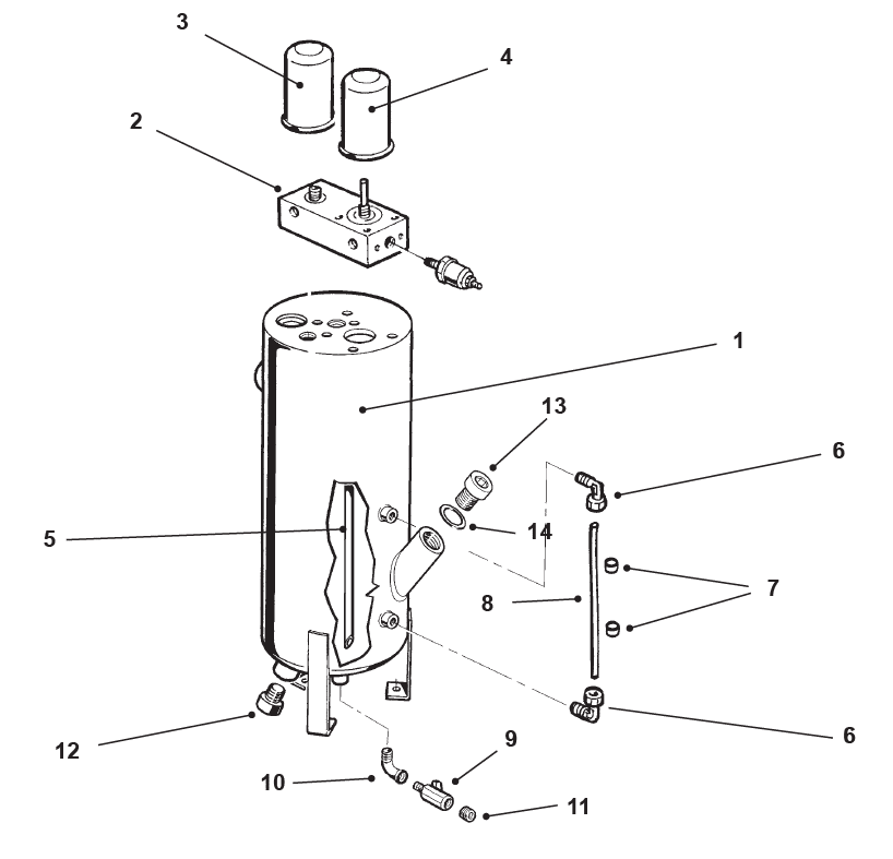
Основные узлы и элементы винтового компрессора, подлежащие обслуживанию:
Регламент замены воздушного фильтра составляет 2000 часов. Однако, в сильнозапыленных помещениях и в тех производствах, где наблюдается сильная пыль в виде твердых частиц (например, на мебельных предприятиях древесная стружка в большом количестве оседает на всех элементах оборудования), рекомендуется менять каждые 500-1000 часов. Воздушные фильтры устанавливаются либо в пластиковый корпус, либо надеваются на всасывающий клапан и закрепляются хомутом.
Выбирайте качественные воздушные фильтры от проверенных производителей. Экономия в данном вопросе может привести к выходу из строя всасывающего клапана (в лучшем случае) и/или поломке винтового блока, особенно в тех случаях, когда элементы воздушного фильтра, не выдержав нагрузки, деформируются раньше срока и попадают в указанные узлы.

Регламент замены масляного фильтра составляет 2000 часов. Меняется вместе с воздушным фильтром, сепаратором и компрессорным маслом. При использовании синтетического масла возможна замена каждые 3000 часов.
Выбирайте качественные масляные фильтры от проверенных производителей. Иначе возможен перегрев компрессора в результате плохого удаления фильтром загрязнений из масла, что приводит к масляному голоданию (забивается канал).

Регламент замены сепаратора (маслоотделителя) составляет 2000 часов. Меняется вместе с воздушным и масляным фильтром, а также компрессорным маслом. При использовании синтетического масла возможна замена каждые 3000 часов. Различают два вида сепараторов: накручивающиеся и погружные. Его основное предназначение состоит в очистке сжатого воздуха, поступаемого на выход из компрессора в пневмолинию, от масла.
Выбирайте качественные сепараторы от проверенных производителей. В противном случае это может привести к уносу масла из системы и попаданию его в пневмолинию .
В версиях с ременной передачей замена приводных ремней проводится каждые 6000 часов. Однако, рекомендуется проверять их натяжение и состояние на предмет трещин, расслоений, других деформаций при каждом техническом обслуживании.
В версиях с прямым приводом, как правило, используется эластичная муфта (реже - через редуктор или непосредственный привод). Ее смена производится каждые 12000 часов.

Рекомендуем всегда держать запасной комплект приводных ремней / эластичную муфту вне зависимости от их текущего состояния на вашем компрессоре.
Обслуживание термостата осуществляется каждые 4000-6000 часов. Как правило, поставляется в составе ремкомлекта термостата. Основной признак выхода его из строя - это перегрев компрессора. Если воздушная установка снабжена микропроцессорным управлением с ЖК или сенсорным дисплеем, то при перегреве (от +105 до +110°C) на экране высвечивается ошибка и происходит отключение по аварии.
Позаботьтесь о запасном ремкомплекте термостата вне зависимости от того, как он работает на данный момент в Вашем оборудовании.
Замена клапана минимального давления воздушного компрессора осуществляется каждые 4000-6000 часов. Как правило, поставляется в составе ремкомплекта клапана минимального давления или суппорта. Основной признак выхода его из строя - унос масла из компрессора. Далее, компрессорное масло попадает в пневмолинию.
Наличие запасного ремкомплекта клапана минимального давления позволит вовремя восстановить работоспособность собственными силами.
Замена ремкомплекта всасывающего клапана воздушного компрессора осуществляется каждые 4000-6000 часов.
Основные признаки выхода его из строя:
- Компрессор плохо запускается, не перезапускается;
- Не набирает давление;
- Падение производительности;
- Выброс масла через воздушный фильтр.
Всасывающий клапан является таким узлом, где практически не существует "временных вариантов". Его поломка ведет к множеству проблем. Держите всегда запасной ремкомплект.
Согласно регламента большинства производителей винтовых компрессоров обслуживание винтового блока осуществляется каждые 8000-12000 часов. На данном промежутке осуществляется замена сальника, опорного кольца, подшипников, а также прокладок и резиновых уплотнителей. Как показывает практика, сальники и подшипники могут исправно работать и 20000-40000 часов. Однако, это потенциальный риск для сильного износа винтового блока с последующим заклиниваем (в некоторых случаях блок уже восстановлению не подлежит).
Рекомендуем всегда держать запасной ремкомплект сальника и подшипников вне зависимости от их текущего состояния на вашей установке.
